1.概述
制定好数据标准后,可通过落地评估功能检查各系统是否有按标准建设,找出存在的标准问题。落地映射就是将元数据和数据标准进行关联,完成落地映射后才能对定版标准发起落地评估。
设置落地映射的方式有三种:手动映射、映射推荐、智能映射。
2.设置落地映射
1)手动映射
在【数据标准】-【数据标准管理】-【定版标准】模块,选择“基础数据标准”标准集,点击数据标准后面的【落地映射】,如下图:

打开到落地映射列表界面,这里会显示该标准所有已经发布的落地映射。点击【映射管理】,如下图:

打开到映射管理页面,这里可以新建、编辑、删除落地映射。点击【新建】新建落地映射,如下图:

在新建落地映射界面,这里有两种映射方式:
方式一,【选择映射库】这里精确勾选一个或多个需要映射的元数据时,直接点击【映射匹配】,选择的元数据被添加到已选元数据列表中。

方式二,【选择映射库】这里勾选挂载点或一定范围内的元数据时,选择映射方式(“根据中文名称映射”、“根据英文名称映射”、“智能映射”)后点击【映射匹配】,这时则是在选择的元数据范围内根据选择的映射方式进行匹配,匹配上的元数据会出现在已选元数据列表中。勾选“智能映射”是进行相似度匹配,不勾选则是进行完全匹配。

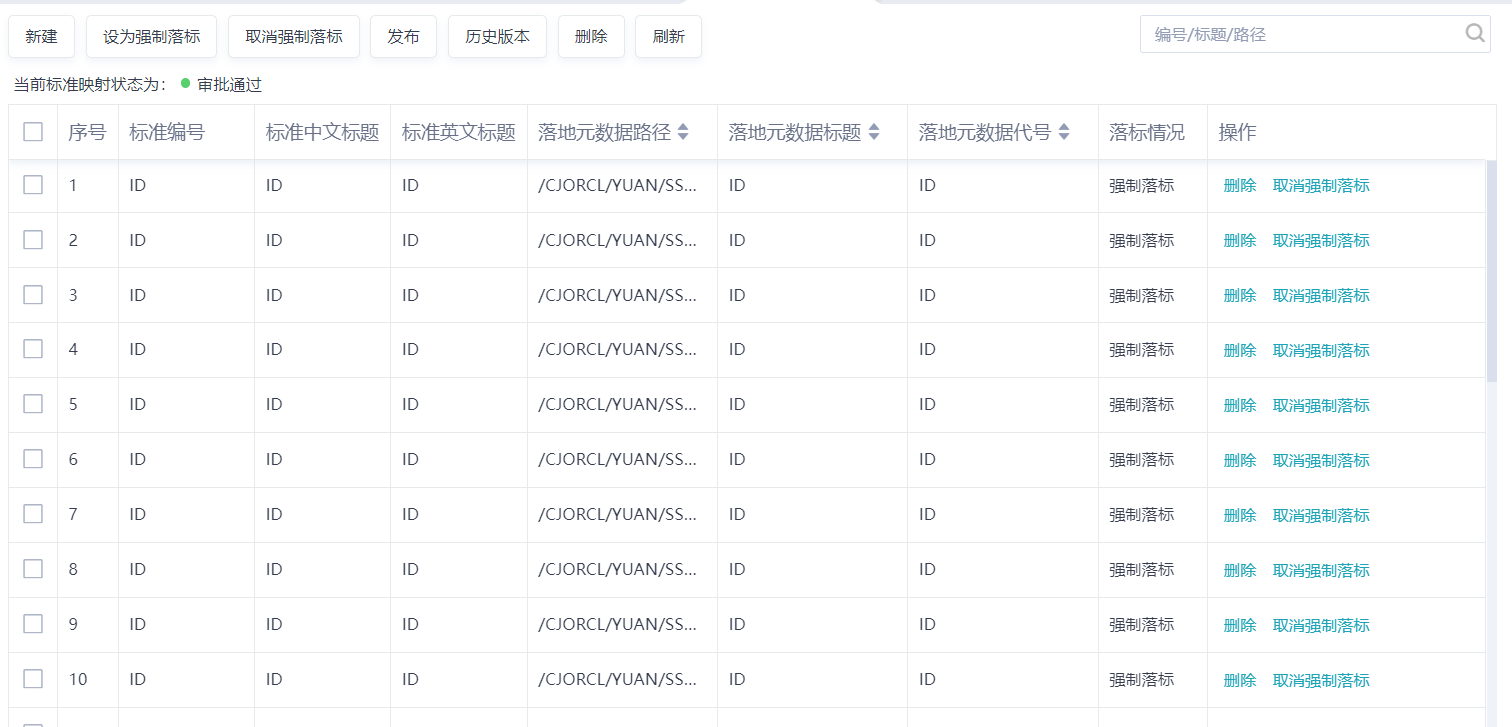
在已选元数据列表中,已匹配到的元数据默认为强制落标状态,可点击操作列的开关按钮修改为非强制落标。对于非强制落标的元数据落地评估时如与标准存在差异,则其评估结果为例外通过,即可例外通过的元数据需设置为非强制落标。点击操作列后面的×或者删除和清空按钮,可删除或清空已匹配上的元数据。
点击【保存并发布】按钮,即可发布成功。


也可以【保存】后回到映射管理界面,新增的落地映射默认为待发布状态,还需要发布才能生效。点击【发布】,如下图:


点击【刷新】,可看到状态变为“审批通过”。如果标准集设置了映射审批流程,发布后还需相关人员进行审批。

注:增删改落地映射后都需重新发布才能生效,包括删除所有落地映射。
切换到落地映射列表界面,点击【刷新】,上面成功发布的落地映射会显示在列表中。

切换到数据标准列表,可以看到映射状态变成了【审批通过】,说明已完成落地映射。

2)映射推荐
映射推荐会将元数据的代号、标题、注释和标准的英文名称、中文名称做相似度匹配,匹配上的元数据被推荐。映射推荐还会根据已经落地映射的元数据的依赖做推荐。推荐的元数据按相似度由高到低排序。
点击【映射推荐】,如下图:

在打开的页面中,选择元数据(一般会选择表、库或者某个挂载点)点击【查询】,将显示推荐的元数据和推荐原因。确定映射对象后点击【申请映射】。


这样,就添加了一条“待发布”的落地映射。完成所有申请映射后,还需进入映射管理页面,【发布】这些映射使其生效,如下图。

3)智能映射
点击数据标准管理-定版标准页面,选择“基础数据标准”,勾选标准,点击【智能映射】按钮。
进入新建落地映射界面,选择映射库和映射方式,点击【映射匹配】进行映射。
点击【保存并发布】按钮,便可以看到进度信息,这里就不需要去【映射发布审批】中进行审批。
或者点击保存,只保存就需要去【映射发布审批】中进行审批操作。
【标准中文标题的筛选】
在数据标准管理-定版标准页面,选择“基础数据标准”,勾选多个标准,点击【智能映射】按钮。
进入新建落地映射界面,选择映射库和映射方式,点击【映射匹配】进行映射。
通过对标准中文标题的筛选,筛选出中文标题为“ID_”的标准对应的映射。
点击左侧元数据资源树中的元数据标题,右侧列表显示该元数据对应的映射数据。
点击【添加映射】按钮,可以看到当前元数据匹配的标准有哪些,能自行取消或勾选某个标准进行匹配映射。
最后还需进入映射管理页面,【发布】这些映射使其生效。
3.审批落地映射
如果标准集的“映射审批流程”属性绑定了工作流,则发布落地映射后还需要审批。

相关审批人员登陆后,切换到【映射发布审批】模块,在待审批列表中可以看到等待审批的映射。

点击【办理】,可以看到详细映射内容。根据实际审批情况,点击【审批通过】或【退回重审】。

请先登录